舒城县庐镇乡卫生院双向转诊制度及服务流程
一、工作原则
(一)患者自愿、保证安全原则
(二)分级诊治原则
(三)专科特色原则
(四)资源共享原则
(五)连续治疗管理原则
二、转诊条件
(一)上转条件
1.临床各科急危重症,本院难以实施有效救治的病例;
2.受诊疗条件限制不能诊治的疑难复杂病例;
3.突发公共卫生和重大伤亡事件中,处置能力受限的病例;
4.因技术、设备条件限制不能处置的病例;
5.疾病诊治超出本机构核准诊疗登记科目的病例;
6.需要到上一级医疗机构进一步检查、明确诊断的病例;
7.其它原因不能处置的病例。
(二)下转条件
卫生院应将下列患者下转至卫生室进行后续治疗、康复;
1. 需长期护理和照护的老年患者;
2.自愿要求转回卫生室后续治疗或康复者;
3.一般常见病、多发病患者;
4.卫生院院与卫生室共同商定的其他转诊患者。
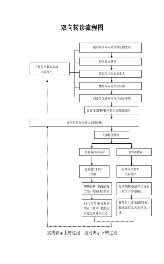
三、双向转诊程序
(一)卫生室按转诊原则将符合上转指征的患者转至卫生院进行进一步诊治。
(二)转诊患者持“双向转诊单”到卫生院就诊。
(三)转诊患者病情稳定后,卫生院院将符合下转指征的患者转回卫生室,继续进行康复治疗。
四、工作职责
(一)医院职责
1.医务科负责统一协调和规范管理双向转诊工作。
2.卫生院负责接诊卫生室转诊的患者,确保转诊患者得到及时、有效的诊治。
3.建立双向转诊绿色通道,减少环节,对卫生室转诊住院患者,实行优先就诊,对卫生室送检的样本可直接为其提供相关检查服务。
4.实行资源共享,避免不必要的重复检查。
(二)卫生室职责
1.负责协助或指导患者选择合适的专家和检查项目。
2.认真填写《双向转诊上转记录单》,写明患者的病情及诊疗情况。
3.对急危重症患者,应采取必要的急救措施,并提前通知卫生院,及时进行转送。
4.接诊转回卫生室的患者,与医师保持联系,建立良好的合作关系。
5.随时反馈卫生院的服务情况,进一步提高双向转诊的医疗水平。
6.社区居民开展健康教育、健康促进活动。

皖公网安备 34152302000043号